http://www.lzymwhcb.com?? 2021-12-31 18:17 ??來源 溫州視線

美國單日新增確診50多萬
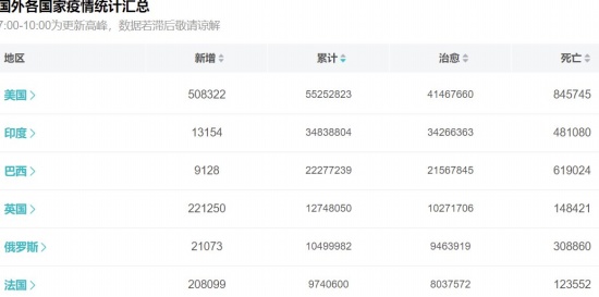
哇!昨天1天,美國新增確診超50萬例,達到508322例,這樣速度繼續下去,不到2年,美國人全部確診了。
美國太不厚道了,你這樣一下子提速,讓印度、巴西兩個難兄難弟怎么跟隨啊?還好,有法國后來追上,1天新增確診20萬也還馬馬虎虎跟上美國的步伐。
這樣也好,北美大陸變成荒蕪以后,我們的親戚朋友都不用在美國上班,都可以回國安生過日子了,西方很快要成為真正的“西方極樂世界”了。
截至目前,全世界累積確診新冠病例超2.8億,死亡病例超577萬,美國死人最多,據路透社統計,據報道,全球有超過2.8508億人感染了新冠病毒,5776003人死亡。
自 2019 年 12 月在中國發現首例病例以來,已有 210 多個國家和地區報告了感染病例。
編輯: yujeu